Backhoes su dizajnirane za iskopavanje temelja, podruma i odvodi, korisnog rovova, povratnog punjenja i održavanja nagiba i nasipa u građevinskom, industrijskom i okruženju za uređenje okoliša. Mini Skid Steer Rovokoe je bitan dio opreme za bilo koji projekt izgradnje ili uređenja okoliša. Sa svojom kompaktnom veličinom i svestranošću, lako se može manevrirati kroz uske prostore i s lakoćom rješavati razne zadatke.
Značajke:
Odgovara:Uklapa se mini klizač kao: Agt, FF, Lanty, Hightop, Rippa, Agrotk, MST, Typhon, Machpro, glasovanje, INFORT, NICOSAIL, CAT, KUBOTA, HITACHI, KOMATSU, VOLVO, BOBCAT, DOOSAN, ISS, JANM, JCB, JON DEREE
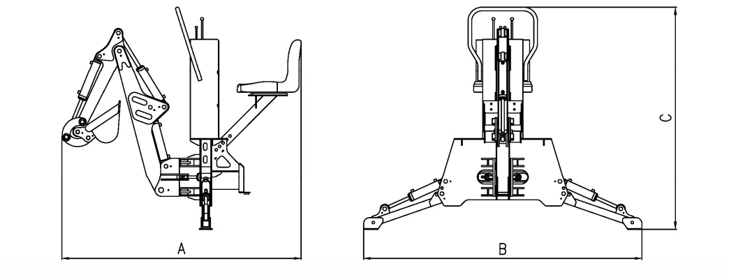
Parametar:
Mini Skid Steer Rovokoe

Dimenzija (a*b*c): 1970*2290*1830mm
Kut ljuljanja: ± 60 stupnjeva
Težina: 350kg
Dubina kopanja: 1250 mm
Polumjer kopanja: 2250 mm
Kapacitet kanti: 0,015m³
Sila kopanja: 30kn
Popularni tagovi: Mini Skid Steer Rovokoe, Kina Mini Skid Proizvođači rovokopača, dobavljači, tvornica












